Беспилотных курьеров защитят от угона

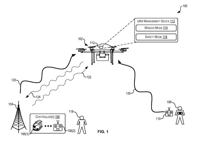
Компания Amazon запатентовала новый способ защитить дроны от угонщиков, которые могут попытаться украсть посылку из интернет-магазина. Как сообщается в официальном патенте, зарегистрированном в США, речь идёт о хакерах, которые "глушат" дронов с помощью радиопомех.

"Используя такие атаки, преступники могут получить контроль над БПЛА, взломав сигнал связи, отправляемый с базы", - говорится в тексте патента. После этого с помощью фальшивого пульта дистанционного управления можно опустить дрон и забрать посылку.

Эти преступления могут привести к значительным финансовым потерям для магазинов.

Чтобы угона не случилось, парк дронов от Amazon будет оснащен устройством, получившими название "heartbeat". Это особые передатчики каждые несколько секунд передают на базу проверочный сигнал и получают ответ. Если дрон перестанет получать сигнал, он автоматически перейдет в режим безопасности.

26.07.2018
Игорь Бахарев

Актуальное сейчас

Читать еще 
Популярные статьи
Заявка

Я ознакомлен и согласен с условиями оферты и политики конфиденциальности.