Amazon подала заявку на патент, в котором описывается новый способ перевозки товаров с помощью системы из нескольких дронов.
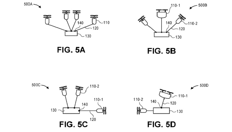
Как говорят авторы патента, согласно новой концепции, каждый дрон будет связан с грузом с помощью троса, жесткой или телескопической балкой, или каким-то еще способом. Соединения могут быть как жестко зафиксированными, так и разъединяемыми.
По сути, несколько отдельных беспилотников будут образовывать единую конструкцию с грузом. Аппараты могут синхронизировать между собой свое положение, а при необходимости количество дронов можно менять, в зависимости от тяжести груза.

Кроме того, сами дроны смогут менять свое расположение в системе. К примеру, один из них может выступать в качестве тянущего, а остальные будут создавать подъемную силу.
Плюс системы ещё и в том, что в качестве тяговой силы могут использоваться как небольшие двухвинтовые соосные дроны, так и полноценные квадрокоптеры. При этом в качестве двигателей можно использовать не только электродвигатели, но и другие, к примеру, реактивные.